Latający wyświetlacz Samsunga

Grandalf

Bardzo aktywny
Członek Załogi
Moderator
Dołączył
26 Maj 2015
Posty
19243
Reakcje/Polubienia
56085
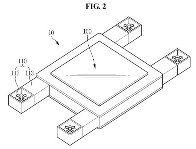
Firma Samsung opatentowała latający wyświetlacz – podobne do drona urządzenie mobilne, mogące podążać za swoim użytkownikiem lub też za jego wzrokiem. Potencjalne zastosowania to jednak na razie wyłącznie domysły.

55cbc5345e41b43db2b6c819c8ebcfc3a626224e.jpg

Latający wyświetlacz to najnowszy pomysł, na jaki firma Samsung otrzymała patent. Producent nie zdradza, czemu miałby służyć taki wynalazek, ale można się tego domyślać.

Patent przedstawia urządzenie podobne do drona, tyle tylko, że wyposażone dodatkowo w wyświetlacz, na którym mogłyby pojawiać się treści wideo. Pomysł ciekawy, ale czy ma jakieś praktyczne zastosowania? Jeśli byłby odpowiednio duży, mógłby sprawdzić się na przykład podczas wydarzeń, pełniąc funkcję mobilnego ekranu dla stojących za daleko od akcji. Mniejszy przydałby się także podczas akcji ratowniczych – do przekazywania wizualnych informacji.

The Verge widzi też inną możliwość, choć trudno uwierzyć, by miała stać się faktem – mianowicie serwis wspomina o formie podążającego za osobami reklamowego billboardu. „Tablet podążający za użytkownikiem do domu? To może być zabawne – móc oglądać film podczas wykonywania codziennych obowiązków” – czytamy z kolei w serwisie Engadget.

O czym myśli sam Samsung, trudno powiedzieć, ale zakłada on, że latający wyświetlacz będzie rozpoznawał mowę i gesty. Autorzy wspominają również o systemie automatycznego dostosowania pochylenia ekranu – ma to być zasługa systemu monitorowania położenia głowy i oczu użytkownika. Unoszący się ekran do oglądania filmów? Nie brzmi to tak najgorzej.

Nie wiadomo jednak nawet, czy takie urządzenie ujrzy kiedykolwiek światło dzienne – wszak to tylko patent.
źródło:
Zaloguj lub Zarejestruj się aby zobaczyć!
i english
Zaloguj lub Zarejestruj się aby zobaczyć!
 
Do góry